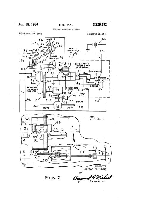
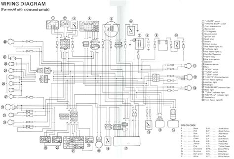
1970 GM Alternator Wiring – Keep Your Classic Charged! [diagram] 1970 mopar alternator wiring diagram